l 软件概述
会议系统主要有申请会议地点、发布会议通知、进行会议签到、查看签到情况、完成签到统计等功能。各种活动所需场地也可以使用本系统进行申请。
l 使用操作
一、申请场地
1.会议系统管理员在办事大厅中打开“场地申请”,或者打开官网在“站外导航”处点击“会议管理系统”,输入账号密码进入会议系统,或直接打开http://192.168.200.92/login。
2. 点击“会议管理”①栏目中的“会议管理”②按钮。然后点击右上角的“增加会议”③。
3. 正确填写会议信息,选择“会议图片”并添加“封面内容”。添加成功后可点击“保存”自动返回上级界面。
4. 点击会议右方的“生成”按钮可预览生成的会议封面,如果有误可点击“修改”按钮进行修改。确认无误后,会议申请完成。
二、场地审批
会议室管理员登录,点击“会议管理”栏目中的“会议审批”查看会议室的申请情况,核对信息后点击“审批”按钮,弹出审批界面。若信息无误点击“通过”,若信息有误在“审核意见”栏指出错误并点击“不通过”。
说明:会议系统有会议地点冲突、参会人员冲突自动检测功能,审批时要注意会议时间的合理性,避免因时间不合理造成他人无法申请。
三、发布会议通知
1、选择参会人员。申请会议的状态为“审核通过”,会议系统管理员点击右边的“参会人员”按钮添加参会人员。说明:通过姓名或所属部门等查询后选中参会人员。
2、发布会议通知。人员选中完毕后点击“返回列表”按钮,点击会议右边的“发送会议短信”按钮。
3、通知接收确认与查询。参会人员在移动校园中收到会议通知后,点击会议通知打开接收通知确认界面,点击“未确认”按钮确认自己收到会议通知。

会议系统管理员可以点击“参会人员”查看参会人员是否确认收到通知,红色字体的均是没确认人员。
会议开始前半小时,系统会发送手机短信给每位参会人员进行会前提醒。
四、现场签到
会议开始前,会议系统管理员点击“生成”按钮,生成会议封面及签到二维码。
参会人员打开微信,扫描封面右下方的二维码即可签到成功。(首次扫码签到前必须在“移动校园”点击“应用服务”中的“教学管理”,然后打开“我的会议”,手机会自动绑定会议管理系统,退出后便可扫码签到)会议开始后在规定时间内未能签到作迟到处理。
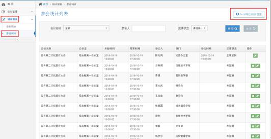
五、参会情况查询
1、手机和电脑均有“会议统计”功能,可以查看本次参会人员的参会情况。在电脑上点击右边的信封图标便可查看缺勤人员,点击“发送”按钮会短信通知。
2、在“会议报表”中点击“参会统计”使用搜索功能可查看参会人员的出席状况,并可用Excel导出统计信息。